Вход
Восстановление пароля
Введите код из SMS
Введите новый пароль
8 (812) 777-27-27

Добавить лот

Чтобы реализовать свою недвижимость на площадке Фонда Имущества, отправьте нам информацию об объекте:

{{smsCtrl.telMsg}}
{{smsCtrl.codeMsg}}
Отправить еще раз
Добавляя лот, вы соглашаетесь с Договором оферты

Авторизация
Авторизируйтесь для добавления объекта и участия в рейтинге

Зарегистрироваться

Оцените по достоинству личный кабинет на сайте Фонда Имущества
Вы можете зарегистрироваться
чтобы воспользоваться новым функционалом
О сайте

Название: сетевое издание «фондимущества.рф»

Учредитель: АО «Фонд Имущества Санкт-Петербурга»

Главный редактор: Голыгина А.В.

Электронная почта: pochta@property-fund.ru

Телефон: +7 (812) 426-11-11

Свидетельство о регистрации: ЭЛ № ФС 77 - 73029

Номер лота 5072
Объект нежилого фонда (помещение) Извещение о проведении торгов
18 марта
2026
11:00
среда

Адрес: Санкт-Петербург г, 7-я В.О. линия, дом 8, литер Б

Район: Василеостровский    Василеостровская

Форма проведения:
Аукцион с открытой формой подачи предложений

Место проведения торгов:
Электронная площадка АО «Российский аукционный дом» (раздел «Приватизация») - www.lot-online.ru

Организатор торгов:
АО «Российский аукционный дом»

Сведения о процедуре
Начальная цена 927 200 руб.
Размер задатка 92 720 руб.
Шаг аукциона 46 300 руб.
Определение участников торгов 16.03.2026 15:00
Дата публикации 29.01.26
Тип сделки Продажа
Тип торгов Электронные
Дата начала приема заявок 29.01.26, 10:00
Дата окончания приема заявок 10.03.26, 23:00
Срок поступления задатка 11.03.26
Дата торгов 18.03.26
Сведения об объекте
Адрес Санкт-Петербург г, 7-я В.О. линия, дом 8, литер Б
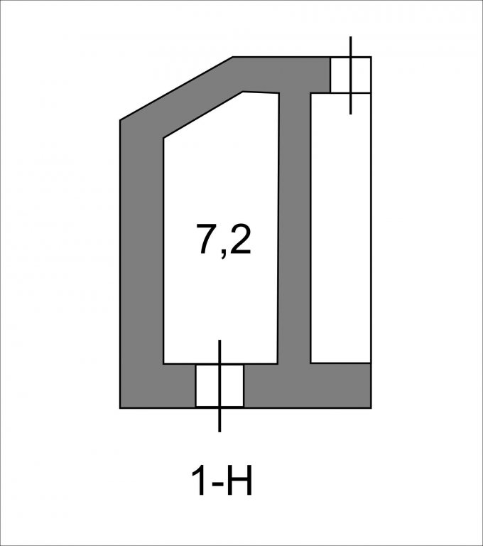
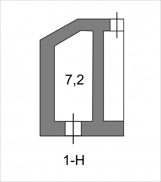
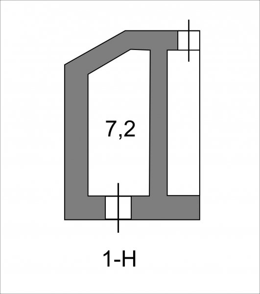
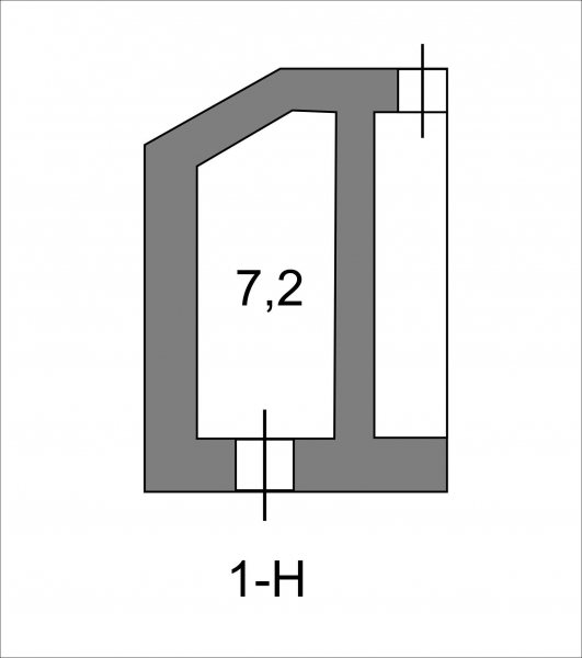
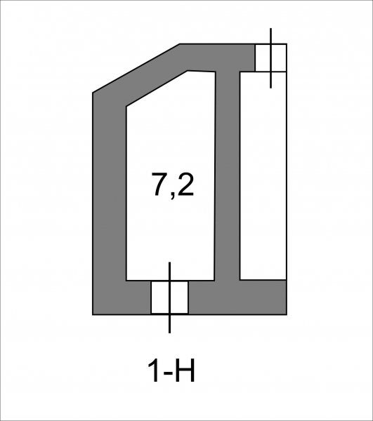
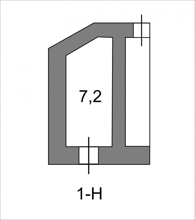
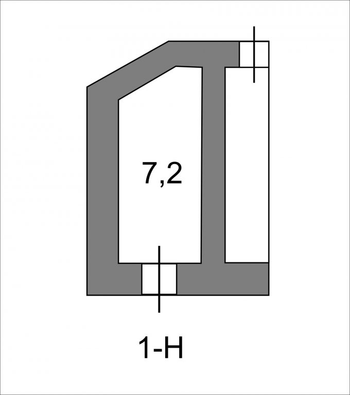
Помещение 1-Н
Кадастровый номер 78:06:0002032:1169
Функциональное назначение Складское
Площадь кв. м 7,2 м2
Этаж расположения цоколь
Тип входа 1 отдельный со двора
Элементы благоустройства Есть
Еще 9 фото
Приморская
Объект нежилого фонда (помещение) Санкт-Петербург г, Наличная ул, дом 31, литер А Показать на карте

Площадь: 326.7м2

Район: Василеостровский

Дата торгов: 31.03.26

Начальная цена: 10 370 000 руб.

Еще 4 фото
Василеостровская
Объект нежилого фонда (помещение) Санкт-Петербург г, 15-я В.О. линия, дом 16, литер А Показать на карте

Площадь: 16.6м2

Район: Василеостровский

Дата торгов: 31.03.26

Начальная цена: 1 464 000 руб.

Еще 2 фото
Василеостровская
Объект нежилого фонда (помещение) Санкт-Петербург г, 6-я В.О. линия, дом 23, литер Б Показать на карте

Площадь: 5.6м2

Район: Василеостровский

Дата торгов: 18.03.26

Начальная цена: 854 000 руб.

Еще 3 фото
Василеостровская
Объект нежилого фонда (помещение) Санкт-Петербург г, 6-я В.О. линия, дом 23, литер Б Показать на карте

Площадь: 5.6м2

Район: Василеостровский

Дата торгов: 18.03.26

Начальная цена: 854 000 руб.

Прямоугольник 2 копия Прямоугольник 2 копия 2 chat chat Прямоугольник, скругл. углы 1 копия 6 profile